| 产品特性:防腐蚀 | 品牌:世伟洛克 | 型号:SS-4BK-V51-10 |
| 材质:不锈钢 | 连接形式:螺纹 | 工作温度:常温℃ |
| 订货号:8DE | 货号:EFEO | 压力环境:常压 |
| 驱动方式:手动 | 试验压力:21MPa | 公称通径:3-15mm |
| 标准:美标 | 流动方向:双向 | 零部件及配件:阀体 |
| 用途:截止 | 适用介质:各种高腐蚀化学介质 | 类型(通道位置):二通式 |
| 规格:齐全 | 是否跨境货源:否 |
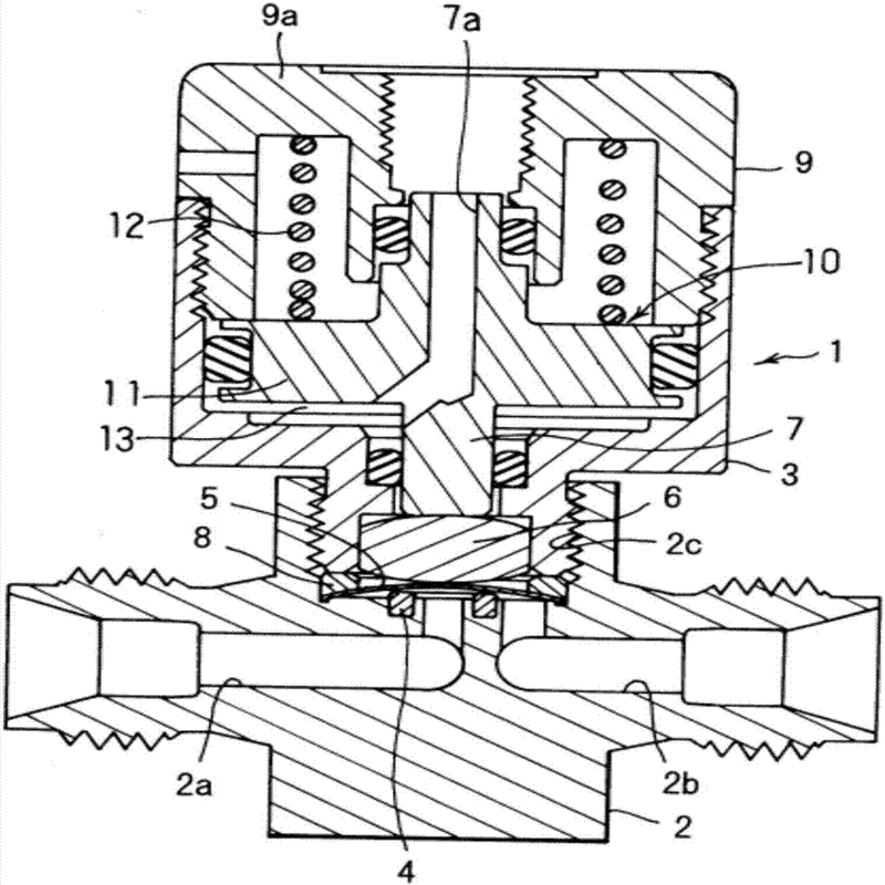
世伟洛克波纹管密封阀门SS-4BK-V51-10气动阀门不锈钢材质
| 机体材料 | 316不锈钢 |
| 连接1规格 | 1/4 in. |
| 连接1类型 | 世伟洛克 ? 卡套管接头 |
| Body Type | 直通 |
| 清洁工艺 | 特殊清洁和包装 (SC-11) |
| 连接2规格 | 1/4 in. |
| 连接2类型 | 世伟洛克 ? 卡套管接头 |
| 特点 | PCTFE 閥桿尖 |
| Surface Finish | 标准 |
| UNSPSC (SWG01) | 40141600 |
| 执行机构类型 | 手动 |
| 弯头材料 | 321 不锈钢 |
| 本体密封 | 带软阀座的垫圈 |
| 流动型式 | 直通(2 通) |
| 垫圈 | PTFE 涂层 316 不锈钢垫圈 |
| 手柄颜色 | 绿色 |
| 手柄类型 | 酚醛圆形手柄 |
| 温度压力额定值 | 200°F @ 830 PSIG /93°C @ 57.1 BAR |
| 室温压力额定值 | 1000 PSIG @ 100°F /68.9 BAR @ 37°C |
| 系列 | B 系列 |
| 服务等级 | 常规 |
| 阀杆尖材料 | PCTFE |
| 阀杆类型 | 锥形 |
| 测试 | 按照 SCS-00020 进行氦气泄漏测试 |
| eClass (4.1) | 37010201 |
| eClass (5.1.4) | 37010201 |
| eClass (6.0) | 37010201 |
| eClass (6.1) | 37010201 |
| UNSPSC (10.0) | 40141609 |
| UNSPSC (11.0501) | 40141609 |
| UNSPSC (13.0601) | 40141609 |
| UNSPSC (15.1) | 40141609 |
| UNSPSC (17.1001) | 40141600 |
| UNSPSC (4.03) | 40141600 |
产品推荐
推荐产品
本页信息为陕西美通永盛实业控股集团有限公司为您提供的"世伟洛克波纹管密封阀门SS-4BK-V51-10气动阀门不锈钢材质"产品信息,如您想了解更多关于"世伟洛克波纹管密封阀门SS-4BK-V51-10气动阀门不锈钢材质"价格、型号、厂家请联系厂家,或给厂家留言。 进入店铺
在线留言







